4月4日,腾讯爆款剧集续作《庆余年2》去年10月份已杀青,此前官方曾暗示该剧将于2024年上线。
据知情人士爆料,《庆余年2》已经过审即将下证,预计5月份播出。

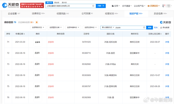
根据公开资料显示,“庆余年”商标已被多家公司及自然人申请注册,国际分类包括服装鞋帽、广告销售、医药、珠宝钟表等。
其中,《庆余年》小说版权方——阅文集团旗下上海玄霆娱乐信息科技有限公司申请近80枚“庆余年”商标,大多数已注册成功。

《庆余年2》前段时间已经官宣预约量破1000万,这也是全网首部预约破1000万的剧集。
从官方公布的全阵容预告来看,原班人马几乎全员回归,还新增了不少新成员。
其中包括:张若昀、李沁、陈道明、吴刚、李小冉、俞飞鸿、毛晓彤、田雨、郭麒麟、于洋、高曙光、李强、刘桦、毕彦君、刘田雨、刘桦、余皑磊、沈晓海、冯恩鹤、宋轶、辛芷蕾、金晨、王楚然、隋俊波、宁理、归亚蕾、王庆祥、付辛博、刘端端、张昊唯、王晓晨、高露、赵柯、徐志胜等。

在《庆余年》第一季中饰演“言冰云”的肖战无缘第二季,该角色将由吴幸键饰演。
《庆余年》导演孙皓此前表示:“原班人马已经保留了99.99%,凑齐这伙人不容易,我们尽力了。第一部火了以后,新增的角色肯定会有人想来出演,多个演员争取同一个角色是件痛并快乐着的事。”